1. Definisi pemasangan hos hidraulik ORFS, biasanya kami menamakan ORFS yang SAE J1453 Standard dengan benang UNF juga sama dengan sambungan standard ISO8434-3, tetapi standard hos yang sesuai dengan penutup meterai o-ring adalah ISO 12151-1.
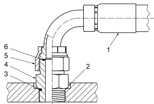
2. Kaedah gandingan hos hidraulik ORFS, kerana tidak. 1 adalah hos hidraulik yang dipasang dengan ferrule hos crimped, 2 adalah pelabuhan, 3 ialah o-ring untuk meterai pelabuhan, 4 adalah penyesuai ORFS, 5 adalah kacang untuk menolak pemasangan hos kepada penyesuai dengan muka kedap o-ring, 6 adalah O-ring untuk Akhir ORFS.

3. Penggunaan kelengkapan hos hidraulik ORFS dalam piawaian ISO 121-1 ringkas, sederhana dan panjang:


1. ORFS HYDRAULIC HOSE FITTING 14211


2. ORFS HYDRAULIC HOSE FITTING 24211/24211-T


3. ORFS HYDRAULIC HOSE FITTING 24241/24241-T


Cool tags: ORFS hidraulik kelengkapan hos, China, pengeluar, pembekal, adat, tembaga, swagelok, Parker, Stauff, Brennan, keluli tahan karat















